一、功能概述
自主管理,主要应用于学校的值周考核场景,即教师(或值周生)对班级、学生的日常生活进行考核(加分或减分);
班主任可以查看时间范围内班级的得分情况,并查看到具体的加减分内容;
学生可以看到自己时间范围内的加分、减分内容;
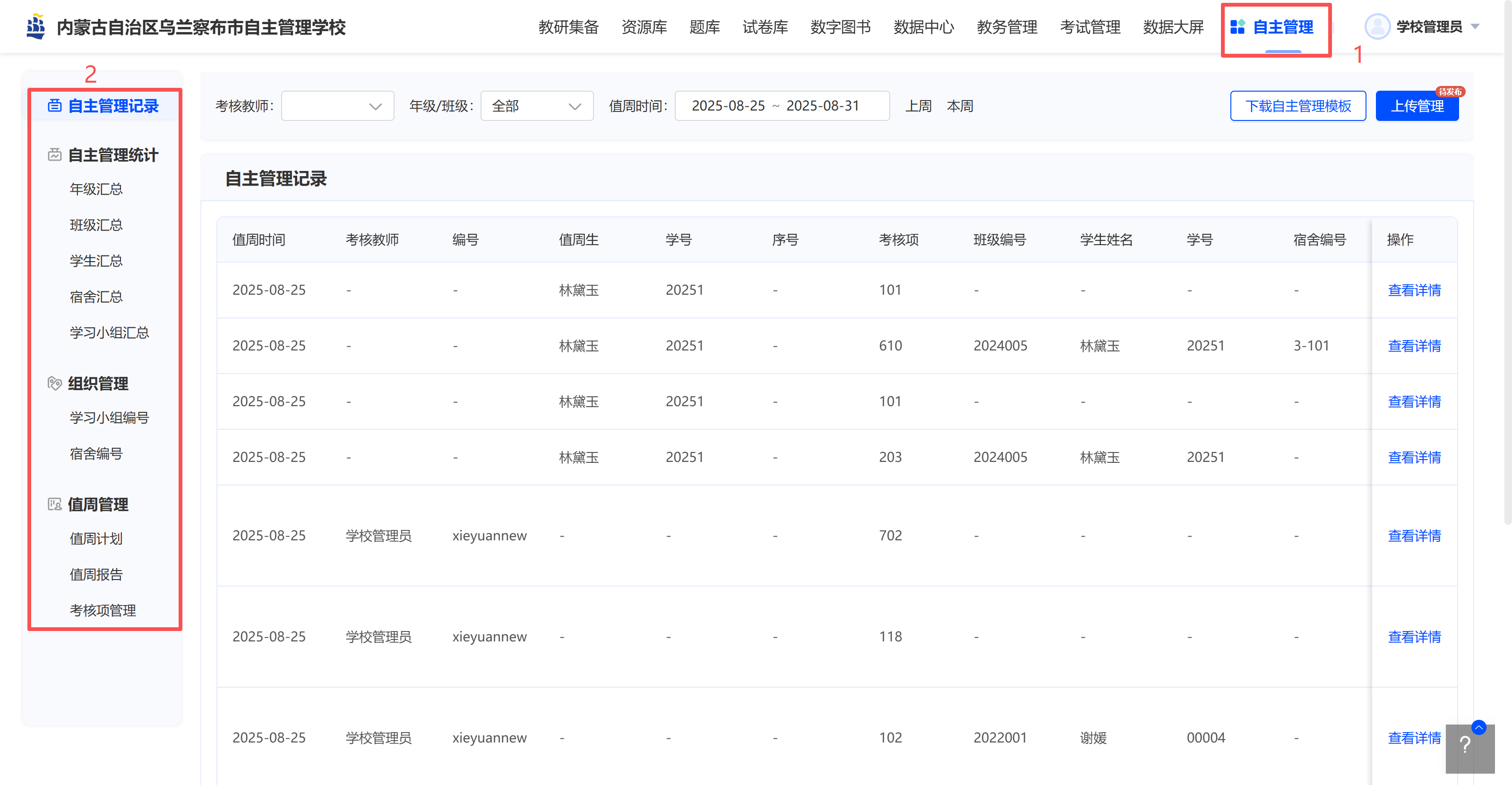
二、进入路径
路径:顶部导航-->自主管理

三、准备工作

1.考核项管理
自主管理需要学校准备考核内容;并导入考核列表;
列表包含:编号、分类、考核项(内容)、分值(选填);
导入考核项后,可以对考核项进行编辑、删除、设置容错次数、考核方式等。
【考核方式-打分方式】:可设置考核项是否带固定分值;

当考核方式为“含固定分值”时,扣分的考核项,支持设置【容错次数】;

【容错次数】即当扣分的考核项发生在学生个体时,可以对学生设置容错次数;学生犯错次数在容错次数范围内时,不扣分,且在学生端APP中可以看到【管理提醒】;

【考核方式-学生端考核】新增是否允许学生端拍照设置,打开后,值周生在考核时即可拍照或上传照片;

2.宿舍编号(选填)
学校管理员可批量导入学生的宿舍信息以及增删宿舍;
班主任仅可对所任班级的学生调整宿舍;
设置宿舍后才可以对宿舍及床位进行考核,若未设置则无法对宿舍进行考核;

3.学习小组编号(选填)
学习小组编号均为班级内的学习小组,班级之间互不影响;
班主任可以对任课班级的学习小组进行增删、调整;
学校管理员可以对所有班级、学生的学习小组进行增删、调整;
设置了班级的学习小组才可以对其进行考核,否则无法对学习小组进行考核

4.值周计划
创建值周计划(时间),填写值周教师、值周生等信息;
在值周时间范围内的值周教师,可以管理所有上传记录,确认后发布记录;
在值周时间范围内的值周生,可以在学生APP中提交考核;

四、教师APP考核
主要用于值周教师拍照上传自主管理记录;
点击【我的-自主管理】拍照/录视频上传或从手机相册中选择图片/视频上传;
上传后由值周教师在网页端进行审核,发布;
注意:录制的视频限制时长最长30秒!

1.教师端APP-自主管理入口

2.上传管理,教师可在上传管理中看到自己提交的记录以及发布状态;

3.新建记录,可以对学生、班级、宿舍、学习小组分别进行考核;并支持图片或视频;

4.班级统计,可查看任课班级的数据;

5.考核项目中,可查询考核内容;
五、值周生APP考核
手机APP:
1.学生可以在APP中看到自己的考核记录:【我的】-【自主管理】-【考核记录】查看自己不同时间的被考核内容;
2.值周生在值周计划期间,联网获取值周生身份,再打开【我的】;

1.有网络时,可以直接点击【自主管理】;无网络时,值周生如需考核,可点击悬浮图标进行考核;非值周生无此功能;

2.值周生可以创建考核记录;

3.新建记录,可以对学生、班级、宿舍、学习小组分别进行考核;

4.学生可以在【考核记录】中,查看自己被考核的内容;5.考核项目中,可查询考核内容;

5.考核项目中,可查询考核内容;
学习平板:
1.学生可以在平板-【自主管理】中看到自己的考核记录:【首页】-【自主管理评价】-【考核记录】查看自己不同时间的被考核内容;
2.值周生在值周计划期间,如需脱网考核,请先在联网环境下获取值周生身份,打开一次【自主管理评价】,返回首页,考核时,可点击直接考核,联网后数据再自动上传;

1.学习平板自主管理入口;

2.进入自主管理页面:值周生有【上传管理】可以新建考核任务;

3.值周生填写并保存考核记录;无网时,点击入口值周生可直接进行考核,联网后数据上传;

4.学生可以在考核记录中查看自己被考核的记录;

5.所有学生均可以看到学校的考核项目;
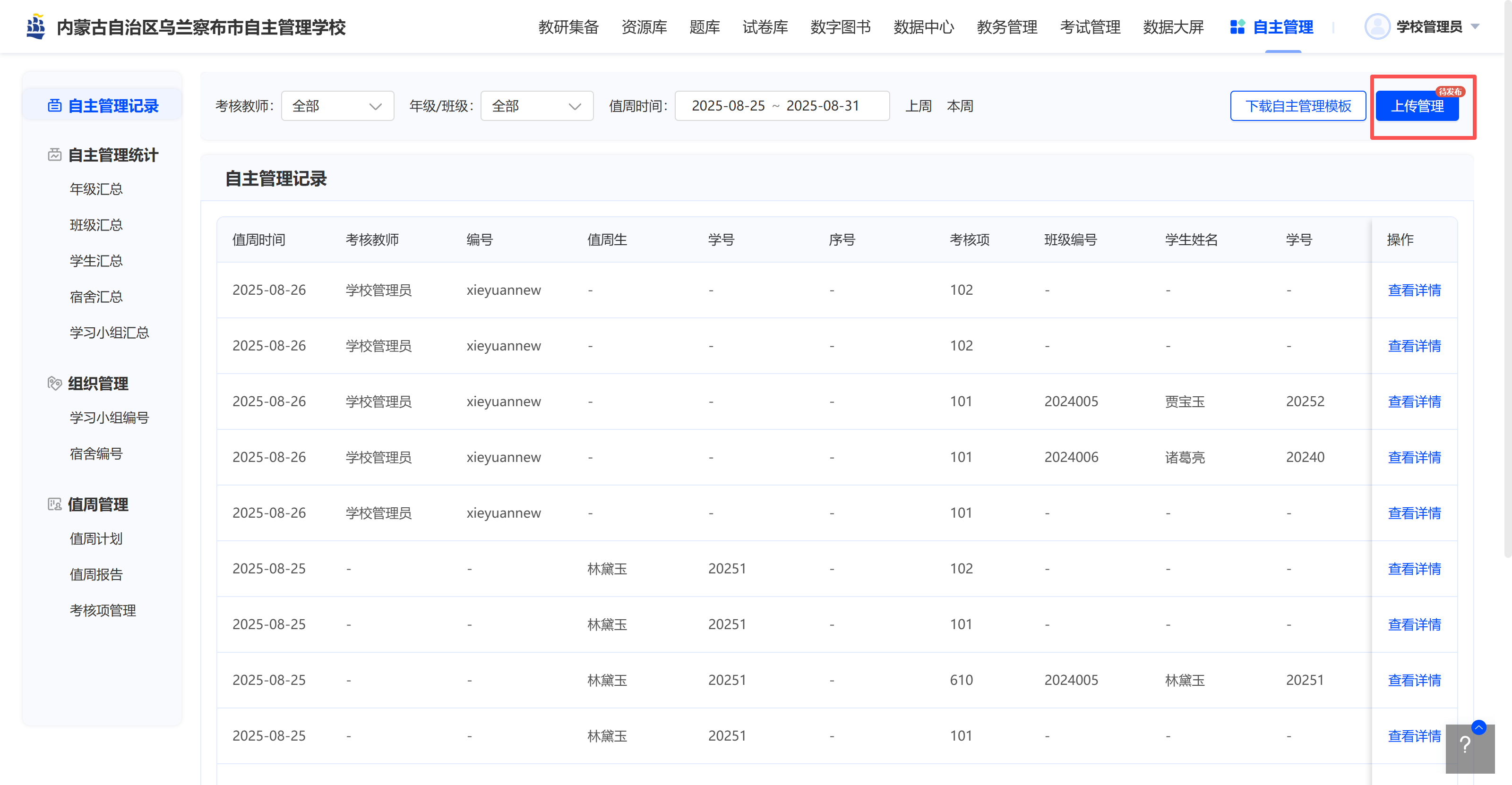
六、值周教师的工作——上传管理
自主管理记录中,点击【上传管理】审核教师或值周生提交的考核内容;
确认考核信息无误后,点击【发布】;
发布后的数据会显示在“自主管理记录”中,同时计入统计;未发布的内容不会计入统计;


七、自主管理统计
自主管理统计是将发布的记录进行统计;包含年级汇总、班级汇总、宿舍汇总、学习小组汇总、学生汇总;
根据角色权限可看到不同的数据范围;
