发布成绩后,如学生成绩有误,可以在“考试管理→成绩管理→修改成绩”中修改学生成绩。


点击【修改成绩】,进入修改成绩页面后,如客观题成绩有误,可以修改选项,系统会根据选项修改分数,如主观题成绩有误,可以修改主观题分数。

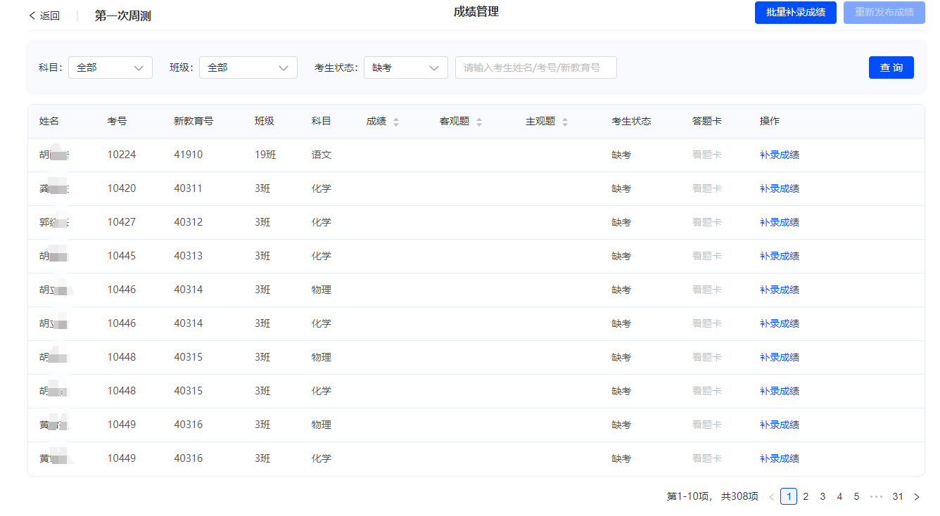
可以对缺考学生的成绩进行补录,在“考试管理→成绩分析→成绩管理”中,筛选考生状态是“缺考”的学生,点击【补录成绩】进入补录成绩详情页。


如需要将试卷各小题得分都输入,切换到“按小题补录”,可以输入客观题选项和主观题各小题分值及图片上传。

将客观题选项输入,系统会根据录入的选项自动计算出成绩,再将主观题分值录入、主观题小题图片上传。也可以将作弊的学生设置为作弊,设置后,成绩报表中该学生作弊的学科将会显示作弊状态。

作弊考生的答题卡如下图:

学生成绩有变更时,比如进行了成绩修改、补录或者设置作弊,“重新发布成绩”按钮会高亮显示,需要重新发布成绩。
